山东风途物联网科技有限公司
联系人:薛经理
联系电话:
客服Q Q:1379335561
公司地址:山东省潍坊市高新区光电路155号光电产业加速器(一期)

PRODUCT
联系人:薛经理
联系电话:
客服Q Q:1379335561
公司地址:山东省潍坊市高新区光电路155号光电产业加速器(一期)

产品型号:FS485
产品价格:600元
产品品牌:风途
一、机械式风速风向传感器技术指标
机械式风速风向传感器又称风速风向一体式传感器,机械式风速风向传感器可广泛应用于气象、海洋、环境、机场、港口、实验室、工农业、交通运输等领域。
供电:DC12V
工作环境:-40~70℃,湿度≤100%无凝露
通信接口:RS485
工作电流:55mA DC12V
启动风速:0.5m/s
最短数据间隔:0.5S
壳体材料:高分子工程塑料
二、机械式风速风向传感器参数
| 参数 | 测量范围 | 分辨率 | 精度 |
| 风速 | 0-60m/s | 0.01m/s | ±0.2m/s |
| 风向 | 0-360度 | 0.1度 | ±1度 |
| 平均风速 | 0-60m/s | 0.01m/s | ±0.2m/s |
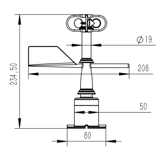
三、机械式风速风向传感器外观尺寸

四、机械式风速风向传感器安装要求

安装时底座箭头N的方向需指向正北方向(如上图所示)